Fischer 545677 DUOBLADE LD Gipsplaatplug 44 mm 40 stuk(s)
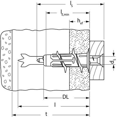
De fischer Duoblade is het jongste lid van de innovatieve Duo-Line. Hij bestaat uit verschillende onderdelen, die samen de best mogelijke prestaties leveren. De zelfborende boorpunt maakt eenvoudig en...
14,99





