Gedore Trekapparaat - 8018280
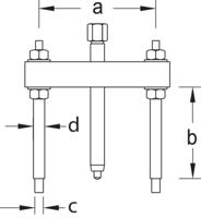
Gedore TrekapparaatBeschrijving· deze trekapparaten worden samen met de separatie-schotels 1.40 gebruikt· de trekbouten worden in de schroefdraadgaten van de separatie-schotels geschroefdTechnische gegevens * 1.38 * schroefdraadopname M24x1,5 / M26x1,5 * spanwijdte 2 140-440 mm * spindelmaat (draadspoed x lengte) G 1 x 360 * toepassing 1.40/5 * sleutelwijdte zeskant 36 mm * openingsdiepte 320 mm
575,80



