Gedore Kogellagertrekker - 8011430
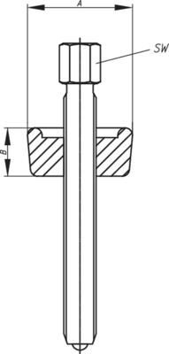
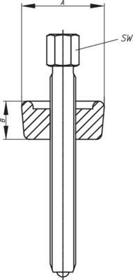
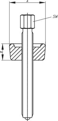
Gedore KogellagertrekkerBeschrijving· voor het lostrekken van kogellagers die op een as en tegelijkertijd in een behuizing zitten· de haken die op basis van de tabel worden geselecteerd, worden in de buitenring afhankelijk van het aantal kogels gelijkmatig in de kogelkooi verdeeld aangebracht· de steunringen die voor de betreffende kogellagers zijn meegeleverd, worden op de lagerbinnenring geplaatst· nu de kop met de spindel in de centrering van de as plaatsen en de spindel onder spanning van de haken aanbrengen· leveringsomvang: kop en spindel. Passende haken a.u.b. apart bestellen!Technische gegevens * 1.29 * kop diameter 65 mm * spindelmaat (draadspoed x lengte) M 20 x 235 * toepassing 1.29/45 * kophoogte (a, a1, b, h, l2, t) 30 mm * sleutelwijdte zeskant 22 mm
73,21



