Meer Beta
Meer Beta in Momentsleutels
Beta Twee-armige trekkers 1500/7 - 015000307
0
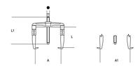
Beta Twee-armige trekkers 1500/7Technische gegevens * A min÷Max mm 110÷520 * L mm 205 * L1 mm 280 * ? mm 27 * A1 min÷Max mm 195÷600...
Snel naar
- Prijzen
PrijzenProductomschrijvingProductspecificaties

